Autoren

1668
 

Aufzeichnungen

234201
Registrierung Passwort vergessen?
Memuarist » Members » Aleksandr_Komarovsky » Приложение 1

Приложение 1

05.06.1965
Москва, Московская, Россия

Приложение № 1

  

МЕТОД ЭЛЕКТРОГИДРОДИНАМИЧЕСКИХ АНАЛОГИЙ (ЭГДА)

  

 

Метод «ЭГДА» основан на аналогии, существующей между напорным движением грунтовых вод и движением электрического тока в проводнике.

Модель подземного водонепроницаемого контура гидротехнического сооружения вырезается из станиолевой пластинки и наклеивается на картон. В начале контура со стороны верхнего бьефа и в конце его со стороны нижнего бьефа (на пластинке) задаются электрические потенциалы от четырехвольтового аккумулятора (см. схему прибора).

 

 

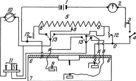
Иллюстрация:  Схема установки «ЭГДА»:

1 — четырехвольтовый аккумулятор: 2 — амперметр; 3 — реостат; 4 — рубильник; 5 — реохорд (вращающееся градуированное сопротивление); 6 — зажимные шины; 7 — исследуемая пластинка (станиоль на картоне); 8 — подвижные контакты реохорда; 9 — стальные иглы в эбонитовой оправе для измерения потенциала; 10 — гальванометр; 11 — ключ с тремя контактами; 12 — реостат; 13 — переключатели

 

Изменением потенциала в любых точках контура и ниже его (т. е. в толще фильтрующей среды) определяется относительная картина распределения фильтрационного напора. Это измерение проводится путем вкалывания в интересующую точку иглы, соединенной проводом через схему мостика Уитстона (применяемую обычно для измерения сопротивлений) с гальванометром. Нажатием ключа гальванометр включается в цепь мостика. Последовательными передвижениями подвижного контура по обмотке реохорда стрелка гальванометра выводится на «0». Показание шкалы реохорда дает непосредственно величину фильтрационного напора в данной точке в долях полного напора на сооружение.

Процесс описанной работы не сложен, но требует большой тщательности. При проверке результатов ряда опытов (параллельным исследованием аналогичного профиля в гидравлическом фильтрационном лотке) расхождение с методом «ЭГДА» получалось от 5 до 10%. Таким образом, построение эпюр фильтрационного давления, полученного по методу «ЭГДА», дает материал, который может быть с успехом использован для практических целей.

 


27.03.2026 в 19:02


anticopiright Свободное копирование
Любое использование материалов данного сайта приветствуется. Наши источники - общедоступные ресурсы, а также семейные архивы авторов. Мы считаем, что эти сведения должны быть свободными для чтения и распространения без ограничений. Это честная история от очевидцев, которую надо знать, сохранять и передавать следующим поколениям.
© 2011-2026, Memuarist.com
Rechtliche Information
Bedingungen für die Verbreitung von Reklame